在行业经历政策与市场波动的背景下,品牌通过平价混动车型与皮卡的强劲需求,成功抵消了电动化业务收缩的影响,实现了整体销量的稳健提升。这一策略调整反映了车企在复杂市场环境中寻求平衡的普遍做法。

墨西哥凭借插电混动车型的强劲需求成为最大海外市场,巴西则呈现纯电与插混双线驱动。欧洲市场以比利时为枢纽多点开花,而印尼、土耳其等新兴市场增长显著,共同推动全球市场的多元化与协同发展。

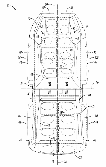
一项新专利揭示了未来汽车座椅如何通过内置气囊与泡沫的舒适层,自动调整形状、软硬度与支撑区域,从而智能贴合不同驾乘者的个体身形与舒适度需求。

通过在国际展会展示新一代全尺寸人形机器人及其多模态交互能力,展现了具身智能在真实场景下的落地应用,并明确了聚焦交互、服务于人的战略方向。

高性能可扩展的SoC系列与单芯片4D成像雷达收发器,为下一代ADAS和软件定义车辆提供了核心解决方案,通过显著的AI算力提升与高集成度,推动更安全、智能的自动驾驶体验实现。
