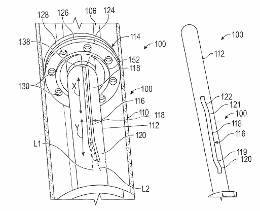
一项新专利揭示了通过导杆表面特殊形状的导向槽,使减震器能依据悬架运动机械式调节阻尼特性,无需依赖复杂电子系统,旨在提升车辆对不同路况的自适应能力。

深度融合电子电气架构通过整合中央计算、区域控制与高速光通信网络,实现了整车数据实时共享与整体化处理,为高阶智能驾驶与车载AI构建了可持续演进的技术基础,推动行业向更高能效与更强智能化方向迈进。

东盟汽车市场正经历电动化转型,本土品牌崛起与传统巨头式微并存。然而,供应链割裂与充电设施不均衡等核心瓶颈,为这片快速增长的市场埋下了诸多不确定性,未来格局仍存变数。

通过双技术路线实现规模化量产,构建了从远距主视到近场补盲的完整感知体系,不仅巩固了在高级别自动驾驶领域的优势,更将激光雷达成功拓展至泛机器人、智慧交通及工业自动化等多场景,加速了物理AI在真实世界中的大规模商业化应用。

通过推出覆盖灵巧手、关节与电池的三款核心产品,形成完整的动力系统解决方案,从单一零件迈向硬件生态布局,有力推动了人形机器人核心零部件的标准化与规模化进程。
